- Доступность: На складе
Предназначен для автоматического непрерывного контроля объемной доли оксида углерода (угарный газ) и метана (природный газ), и выдачи световой и звуковой сигнализации о превышении установленных пороговых значений, подачи сигнала закрытия клапана отсечки газа, управления внешними устройствами.
Область применения - жилые, бытовые, административные и общественные помещения, оборудованные газогорелочными устройствами, работающие на горючем газе (метане).
Работа сигнализатора загазованности :
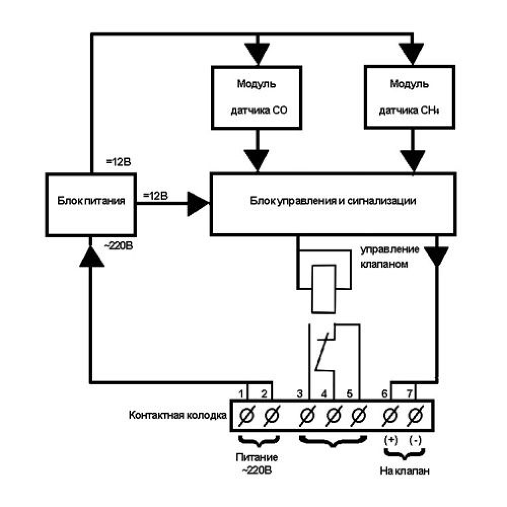
Прибор представляет собой электронный блок, монтируемый в корпус. Состоит из основной платы, блока питания и двух съемных измерительных модуля с сенсорами.
Принцип работы сенсора основан на регистрации изменения сопротивления при изменении концентрации контролируемого газа.
После подачи питания загорается зеленый светодиод «Питание» и звучит зуммер, прибор переходит в режим прогрева, не более 4 минут. По окончании прогрева сигнализатор находится в режиме слежения.
В этом режиме GD100 может выдавать следующие виды сигнализации:
1) при отсутствии загазованности – непрерывный световой сигнал зеленого цвета;
2) при превышении порогового уровня концентрации контролируемого газа срабатывает световой извещатель красного цвета, звучит сигнал сирены, подается сигнал для срабатывания клапана, срабатывает реле управления внешними устройствами;
3) при снижении концентрации газа ниже установленного порога, прибор переходит в режим слежения, звуковой и световой извещатели перестают работать, реле переключается в исходное состояние. Клапан остается в перекрытом состоянии, для возобновления подачи газа необходимо открыть клапан в ручном режиме.
При неисправности любого датчика загорается желтый индикатор и звучит зуммер.
Кнопка «ТЕСТ» предназначена для проверки светового и звукового извещателей, для проверки срабатывания клапана отсечки (если клапан подключен к прибору) и проверки управления внешними устройствами.
В каждом приборе установлено электромагнитное реле. Контакты подключены к клеммам, как показано на схеме. При превышении порогового уровня концентрации контролируемого газа (сигнале Тревога) происходит переключение контактов. Данное реле можно использовать для подключения дополнительного извещателя, вытяжного устройства, электромагнитного клапана (нормально закрытого или нормально открытого). Допустимое напряжение на контактах реле 220В, ток 6А.
Перед установкой внимательно ознакомьтесь с "Руководством по эксплуатации" на устройство.
Технические характеристики сигнализатора загазованности Кенарь GD100-CN






