- Доступность: На складе
GV-80 - стандартный нормально открытый электромагнитный клапан, срабатывающий от импульсного сигнала, перекрывающий подачу газа, предназначен для совместного использования с сигнализаторами загазованности.
Использование клапана GV-80:
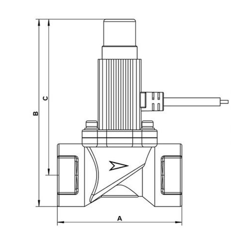
Электромагнитный газовый клапан устанавливается в трубопровод, по которому подается газ потребителям. При установке клапана необходимо соблюдать направление движения газа. Направление установки клапана обозначено стрелкой на боковой стороне прибора. Направление движения газа в клапане: от газовой магистрали к потребителям. Клапан может устанавливаться на трубы, идущие как в горизонтально, так и в вертикально.
Для открытия клапана в ручном режиме необходимо открутить защитный прозрачный колпачок и потянуть красный диск вверх до упора.
Для закрытия клапана (перекрытия подачи газа) в ручном режиме необходимо открутить защитный прозрачный колпачок и нажать сверху на красный диск переместив его вниз до упора.
Для защиты механизма от пыли и грязи, после операций по ручному открытию или закрытию клапана, всегда устанавливайте защитный колпачок.
Для работы клапана в автоматическом режиме, его необходимо подключить к сигнализатору загазованности, который имеет разъем для подключения клапана. При превышении концентрации газа в помещении, сигнализатор подаст импульсный сигнал и клапан автоматически перекроет подачу газа. После устранения утечки газа и проветривания помещения, необходимо открыть клапан вручную.
ВНИМАНИЕ: при подключении клапана к сигнализатору соблюдайте полярность.
ВНИМАНИЕ: установка газового клапана должна производится исключительно уполномоченными организациями, имеющими разрешение или лицензию на работу с газовым оборудованием.
Перед установкой внимательно ознакомьтесь с "Руководством по эксплуатации" на устройство.
Технические характеристики клапана GV-80

Габаритные размеры







